ATFN

Giunto a scomparsa

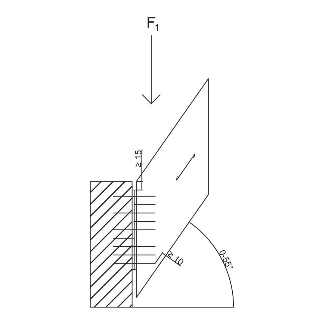
La prima piastra del connettore è fissata con chiodi in una tasca sull'elemento di supporto e la seconda piastra è fissata con viti all'estremità della trave secondaria. Non sono necessarie asole o fori per i tasselli.

Marquage CE
ETE
Classe service 1
Feu R 30
Connector Selector

Dettagli del prodotto

Caratteristiche

Materiale

  • Acciaio zincato S355MC secondo EN EN10149-2.

Vantaggi

  • Installazione a scomparsa

Applicazione

Applicazioni

  • Legno lamellare e legno massiccio.

Utilizzo

  • Fornisce un collegamento invisibile per gli elementi in legno a vista.

Dati tecnici

Gamma prodotto

Codici Dimensione travetto [mm] Dimensioni [mm] Fori supporto Fori travetto Peso [kg]
Larghezza Altezza A B t1 t2 Ø5 Ø5
Min. Min.
ATFN55/1108014011055558110.42
ATFN55/15080180150555511150.57
ATFN55/19080220190555514210.71
ATFN75/150100180150755517220.79
ATFN75/190100220190755521280.99

Capacità caratteristiche - Legno/Legno - Chiodatura completa

Codici Fissaggi Capacità caratteristiche - Legno C24 [kN]
Supporto Travetto R1,k [1] R1,k [2]
Q.tà Tipo Q.tà Tipo CNA4,0x60 CSA5,0x50-DECP CSA5,0x50-DECP
ATFN55/1108CSA5,0X5011CSA5,0X5011.3911.48.1
ATFN55/15011CSA5,0X5015CSA5,0X5015.5315.512.4
ATFN55/19014CSA5,0X5021CSA5,0X5021.7421.718.1
ATFN75/15017CSA5,0X5022CSA5,0X5022.7722.817.4
ATFN75/19021CSA5,0X5028CSA5,0X5028.982924.2

Installazione standard - Inclinazione β = 35° a 145°, Inclinazione α = 25° a 155­°

[1] la trave è bloccata in rotazione
[2] la trave (b≤100mm) è libera di ruotare

Capacità R3,d = R1,d x 0,5
Capacità R4,d = R1,d x 0,25

Installazione

Installazione

Fissaggi

  • Chiodi CNA Ø4x60
  • Viti CSA Ø5x50-DECP (con un'altezza ridotta della testa)

Certificati di idoneità

Media - Product File: ETA

Libreria CAD e BIM

Pacchetti ZIP

Acquista dal distributore

Nessun articolo disponibile.

Contact

Simpson Strong-Tie Italy

Simpson Strong-Tie Italy

c/o Friulsider SPA
Via Trieste, 1
33048 San Giovanni al Natisone UD
Italia