Piastra di fissaggio angolare con nervatura
Piastra di fissaggio angolare con nervatura
Dettagli del prodotto
Caratteristiche
Materiale
- Acciaio zincato S250GD + Z275 secondo EN 10346.
Vantaggi
- Elevata rigidità grazie alle generose nervature laterali.
- Elevati valori di carico.
Applicazione
Applicazioni
- Elemento di supporto: legno massiccio, legno lamellare, calcestruzzo, acciaio, ecc.
- Elemento secondario: legno massiccio, legno composito, lamellare, capriate, profili, ecc.
Utilizzo
- Fissaggio in capriate leggere.
- Pannelli di rivestimento, sottostrutture di rivestimenti.
- Strutture a telaio, X-LAM, travi di banchina, ecc.
Dati tecnici
Capacità caratteristiche - Legno/Legno - Chiodatura completa - 2 angolari per connessione
| Codici | Legno/Legno - Chiodatura completa | ||||||||||||||||
|---|---|---|---|---|---|---|---|---|---|---|---|---|---|---|---|---|---|
| Fissaggi | Capacità caratteristiche - Legno C24 - 2 angolari per connessione [kN] | ||||||||||||||||
| Lato A | Lato B | R1.k | R2.k = R3.k | R4.k = R5.k(1) | |||||||||||||
| Q.tà | Q.tà | CNA4.0x35 | CNA4.0x40 | CNA4.0x50 | CNA4.0x60 | CSA5.0x40 | CNA4.0x35 | CNA4.0x40 | CNA4.0x50 | CNA4.0x60 | CSA5.0x40 | CNA4.0x35 | CNA4.0x40 | CNA4.0x50 | CNA4.0x60 | CSA5.0x40 | |
| ABR100 | 10 | 14 | 9.7 | 11.7 | 15.7 | 19.7 | min (26,7/kmod^0,2 ; 27 /kmod) | 9.6 | 12.8 | 14.2 | 16.7 | 20.3 | 2.4 | 4.2 | 5.1 | 5.1 | 5.1 |
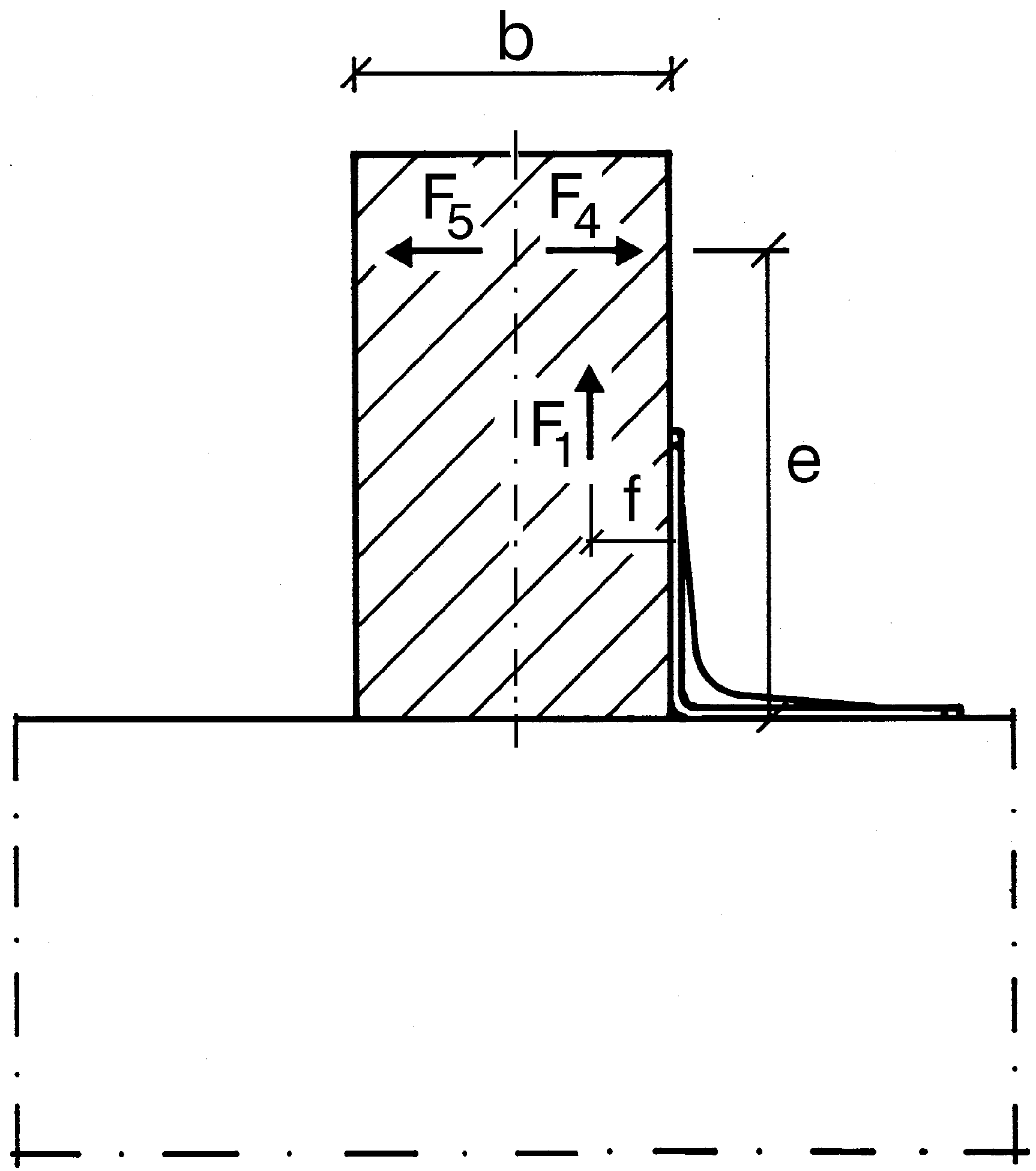
1) b = 75 mm; e = 130 mm (vedi schema in Note tecniche).
Per ottenere i valori di resistenza per un singolo angolare, i valori della tabella precedente devono essere divisi per due, a condizione che la trave supportata sia bloccata in rotazione. Se la trave è libera di ruotare, consultare il nostro ETA-06/0106.
Capacità caratteristiche - Legno/Calcestruzzo - 2 angolari per connessione
| Codici | Legno/Calcestruzzo | |||||||||||
|---|---|---|---|---|---|---|---|---|---|---|---|---|
| Fissaggi | Capacità caratteristiche - Legno C24 - 2 angolari per connessione [kN] | |||||||||||
| Lato A | Lato B | R1.k | R2.k = R3.k | R4.k = R5.k | ||||||||
| Q.tà | Tipo | Q.tà | Tipo | CNA4.0x35 | CNA4.0x40 | CNA4.0x50 | CNA4.0x35 | CNA4.0x40 | CNA4.0x50 | CNA4.0x35 | CNA4.0x40 | |
| ABR100 | 1 | Ø10 | 10 | CNA* | min (17,1; 21,6 /kmod) | min (20,6; 21,6 /kmod) | min (26,6; 21,6 /kmod) | 7.2 | 8.7 | 10.9 | 8.6 | 10.4 |
* Fare riferimento alle colonne della tabella delle capacità caratteristiche per il tipo di elementi di fissaggio che possono essere utilizzati sul lato A. Le capacità variano a seconda del tipo di fissaggio utilizzato. Per ottenere i valori di resistenza per un singolo angolare, i valori della tabella precedente devono essere divisi per due, a condizione che la trave supportata sia bloccata in rotazione. Se la trave è libera di ruotare, consultare il nostro ETA-06/0106.
Capacità caratteristiche - Legno/Acciaio - 2 angolari per connessione
| Codici | Legno/Acciaio | ||||
|---|---|---|---|---|---|
| Fissaggi | Capacità caratteristiche - Legno C24 - 2 angolari per connessione [kN] | ||||
| Lato A | Lato B | R1.k | |||
| Q.tà | Tipo | Q.tà | Tipo | CNA4.0x60 | |
| ABR100 | 10 | CNA* | 4 | PDPA-75 | 21.5 |
Per ottenere i valori di resistenza per un singolo angolare, i valori della tabella precedente devono essere divisi per due, a condizione che la trave supportata sia bloccata in rotazione. Se la trave è libera di ruotare, consultare il nostro ETA-06/0106.
Capacità caratteristiche predeterminate* - Legno/Calcestruzzo - 2 angolari per connessione
| Codici | Legno/Calcestruzzo | |||||||||
|---|---|---|---|---|---|---|---|---|---|---|
| Fissaggi | Capacità caratteristiche predeterminate* - Legno C24 - 2 angolari per connessione [kN] | |||||||||
| Lato A | Lato B | R1.k** | R2.k = R3.k | |||||||
| Q.tà | Tipo | Q.tà | Tipo | CNA4.0x35 | CNA4.0x40 | CNA4.0x50 | CNA4.0x35 | CNA4.0x40 | CNA4.0x50 | |
| ABR100 | 1 | Ø10 | 10 | CNA* | 17.1 | 20.6 | 24 | 7.2 | 8.7 | 10.9 |
* Fare riferimento alle colonne della tabella delle capacità caratteristiche per il tipo di elementi di fissaggio che possono essere utilizzati sul lato A. Le capacità variano a seconda del tipo di fissaggio utilizzato.
Per gli ancoraggi idonei, consultare la gamma di prodotti Friulsider. Le soluzioni di ancoraggio tipiche sono FM-753 crack, KEM-E, FM-753, KEM-H, a seconda del tipo di calcestruzzo, degli interasse e delle distanze dai bordi.
** Il carico caratteristico si basa su un carico di breve durata e sulla classe di servizio 2 secondo EC5 (EN 1995) - kmod = 0,9. Per altre durate di carico e classi di servizio, fare riferimento all'ETA.
In caso di carichi combinati, deve essere soddisfatta la seguente formula:
Per ottenere i valori di resistenza per un singolo angolare, i valori della tabella precedente devono essere divisi per due, a condizione che la trave supportata sia bloccata in rotazione. Se la trave è libera di ruotare, consultare il nostro ETA-06/0106.
Capacità caratteristiche - Trave/Trave - Viti Ø10 - 2 angolari per connessione
| Codici | Trave/Trave - Viti Ø - 2 angolari per connessione | |||||||
|---|---|---|---|---|---|---|---|---|
| Fissaggi | Capacità caratteristiche - Legno C24 - 2 angolari per connessione [kN] | |||||||
| Lato A | Lato B | R1.k | R2.k = R3.k | |||||
| Q.tà | Tipo | Q.tà | Tipo | SSH10x40 | SSH10x80 | SSH10x40 | SSH10x80 | |
| ABR100 | 2 | SSH | 1 | SSH | 5.2 | 9.9 | 2.7 | 3.4 |
Capacità caratteristiche - Trave/Calcestruzzo - Viti Ø10 - 2 angolari per connessione
| Codici | Trave/Calcestruzzo - Viti Ø10 - 2 angolari per connessione | |||||||
|---|---|---|---|---|---|---|---|---|
| Fissaggi | Capacità caratteristiche - Legno C24 - 2 angolari per connessione [kN] | |||||||
| Lato A | Lato B | R1.k | R2.k = R3.k | |||||
| Q.tà | Tipo | Q.tà | Tipo | SSH10x40 | SSH10x80 | SSH10x40 | SSH10x80 | |
| ABR100 | 1 | Ø10 | 1 | SSH | 5.7 | 10.2 | 4.1 | 4.7 |
Per gli ancoraggi idonei, consultare la gamma di prodotti Friulsider. Le soluzioni di ancoraggio tipiche sono FM-753 crack, KEM-E, FM-753, KEM-H, a seconda del tipo di calcestruzzo, degli interasse e delle distanze dai bordi.